「网购避坑」购物平台上的17.6元500克牛肉干,可信吗?-福建华事达房地产有限公司

逛购物平台,发现一款价格十分低廉的牛肉干,500g的重量只要17.60元,可以说是白菜价了吧,可你在想一下,17.6元你在超市或菜市场就差不多能买个半斤(250g)牛肉了吧。更不要说买1斤(500g)的牛肉干了,难道说卖家是标错价格了。标错一个可能会,但7款组合都标错的可能性就不大了。

还有眼尖的朋友看见了图片见的促销价了,但你是一个卖家,你会亏血本买卖货吗?

我们来细细的研究下,它的宝贝详情资料,生产许可证编号:SC12435060600434,通过购物平台的查询平台我还真的查到了他的生产许可证的详细资料,他的生产许可的范围是食品馅料,牛肉干可不是食品馅料啊。

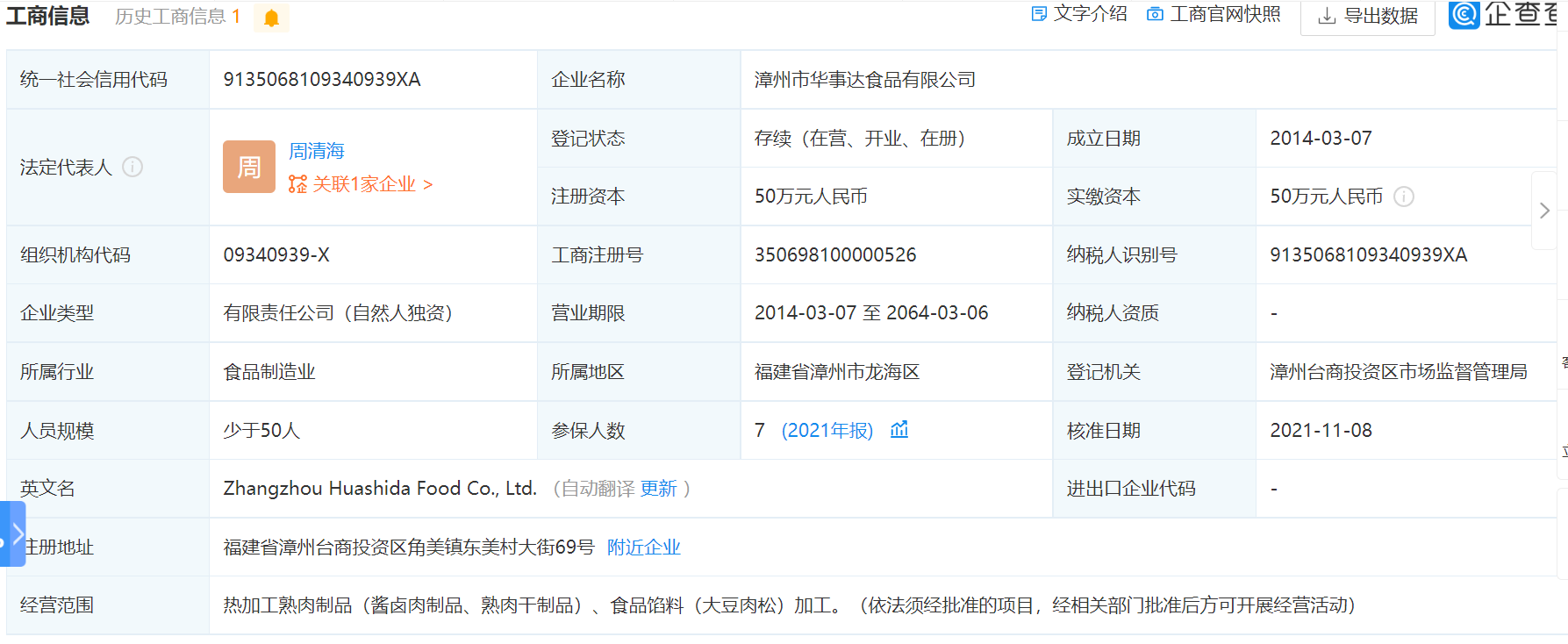
我特此到企查查上查了下漳州市华事达食品有限公司,该公司是有经营熟肉干制品范围的。

厂家联系方式:

047187084621,0471是内蒙古呼和浩特市的电话区号,而

漳州市华事达食品有限公司是在漳州,漳州的电话区号是0596,在福建省漳州是不可能安装内蒙古呼和浩特是的电话区号的。生产厂家与厂家联系方式是不相称的。

配料表:香幸料食用盐秘制配方,秘制配方,配方里用的是什么原材料都不敢写清楚,我个人认为这是不符合《食品安全法》的。

品牌:御派豪情,我在企查查上查得的信息是,该商标(牛肉干)是属于一家名为商丘布谷鸟工贸有限公司的。

省份:内蒙古自治区,城市:呼和浩特市,与生产厂家不在同一个城市,更不在同一个省份。

后来我找客服要了商品标签的照片,客服给了我这张图片,生产厂家是

锡林浩特市巴音吉利木食品有限责任公司,厂址是在锡林浩特市,并非在呼和浩特市,生产许可证号也与其介绍的不一致。

店铺街上重量是500g,净重400g,而给的图片上净含量是称重销售。再看看评论区的买家评论,卖家的回复也是没有谁了吧。

从种种迹象表明,这家网店销售的牛肉干的来路不明确,网店标注信息有非常明显的错误,且与实际商品信息也相距甚大。

网购牛肉干的朋友们一定要擦亮我们的眼睛,不要贪图小便宜。认证审视再下手。缺斤少两是小事,吃坏肚子是大事。

影像三次元

ogp影像仪怎么样

光学测量仪器

ogp光学影像测量机

上一篇: 「网络公关案例」王老吉“捐款一个亿”案例详解-汶川地震王老吉捐了多少
下一篇: 「网连中国」多地试推“孝心基金”,探索乡村养老新模式-中华孝道基金
相关推荐

猜你喜欢